stop taking sedative medication
and try B.U.M today.
B.U.M is a cost efficient innovation that focuses
on the primary issue with each patient.
Taking care of the reason not the consequence

THE
PROBLEM
The majority of the population rely on medication to solve their health issues. Yet, many stil are searching and in desperate need for a solution to their problem. These medications causing side effects and gradually lose their efficiency.
Different medication cause the problem to become chronical.
Surgery has a big risk.
Physiotherapy not always help, cost a lot and takes a long time.
Many are leaving the treatment.
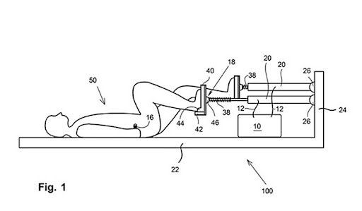
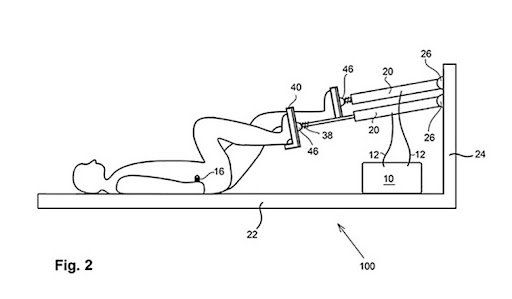
Our device and its software brings a new and deep way to orthopedic treatment.
Our new treatment causes a radical change of the patient posture to be more erect and by this reducing the pressure on back bone vertebrae and Knee, and so reducing the pain.
The technology is a combination of mechanics, electronics, pneumatic and software causing two pedals reacting to the feet power on them in diffrencialic manner.

THE
SOLUTION
The Team

Chairman, Director of Scientific Research and Development
Dr. Abraham Shoshani
Human movement. Feldenkrais Institute
Abraham Shoshani is a serial entrepreneur and business man. He is an expert in Neuro Science, Performance education and Insight. His book ‘Experiencing your potential’ influenced many readers in the world, interested in the realm of body and mind.
Dr. Abraham Shoshani published an article about the Brainfulness technology in the magazine “Depression & Anxiety”.

Chief Science Officer, Resercher
Prof. Iri Libergal
Head of the orthopedic breanch - Hadassah hospital Jerusalem Israel.
- Researcher – School of medicine Hebrew University Jerusalem
- Experience 35 years, author of many scientific articles backed by clinical trials.

CEO A.I.
Ms. Talya Miller, M.A.
30 years of international experience in founding Companies, Management, PR, Marketing and Sales. B2B and B2C

COO & BizDev Manager
Mr. G.J.J. Henzen, MBA.
Gerard Henzen is an operational business manager with a financial background with more than 30 years of experience in managing sales and distribution organisations in a multinational environment. Work experience in the USA, Europe and China. MBA in managing global companies and bridging cultural diffrences.

Vice CEO, Project Management
Ms. Ayala Ashkenazi
Over 10 years of experience in Project Management.
Digital Marketing certificate – Psagot.
Bachelors degree in Education.

Industrial Engineer, IT Expert and Business Consultant
Mr. Oded Talmon, B.Sc
12 years of experience in Website Consulting, Strategic Planning, Branding and building a prominent and professional Online Presence. He has helped several businesses grow successfully in Israel & Mexico.
World market


Approximatley 540 million people worldwide suffer from back and knee pain (WHO).

Due to population aging, the rates continue to increase 15% each year.

The market size is approximately 60 billion per year.
Program

Building a prototype.

Conducting a clinical trial including double blind, supervised by Prof. Iri Libergal in collaboration with Hadassa Hospital Jeruzalem.

Building facility for production.

Arranging marketing net in Europe and the US.

We estimate cost to be $100 per unit and the price $500.
Our invention is protected by
patents in Israel and USA
Contact us
-or-
Write your question here




